The compact 60 GHz radar sensor includes an antenna in package, affording ultra-wide bandwidth FMCW operation with a single-chip solution.
Infineon has announced a new addition to its Xensiv radar portfolio, the BGT60CUTR13AIP. This compact 60 GHz sensor targets short-range motion and presence detection in consumer, industrial, and IoT devices. The release highlights Infineon’s push to bring higher-resolution radar capabilities into smaller form factors, reducing the design burden typically associated with RF systems.

The new family integrates on-chip processing powered by a hardware accelerator, giving users the ability to access either raw or pre-processed data.
By combining a wide operating bandwidth with an antenna-in-package approach, the sensor may help engineers integrate radar into products where optical or ultrasonic solutions may fall short, especially in challenging lighting or environmental conditions. Infineon says the new sensor is one of many aimed at enabling the next generation of “physical AI.” In contrast with generative AI, physical AI is optimized for interacting with the real world through robots, cameras, and autonomous systems.
A Fully Integrated Architecture
Infineon built its new radar device (datasheet linked) around a fully integrated 60 GHz FMCW architecture, bringing the RF frontend, antennas, and control logic together in a single antenna-in-package design. This approach removes much of the complexity traditionally associated with millimeter-wave layout, matching, and enclosure tuning, giving engineers a more predictable starting point for short-range sensing applications. By embedding the antennas directly into the package, Infineon aims to ensure consistent RF performance across different product designs without the need for specialized RF expertise.

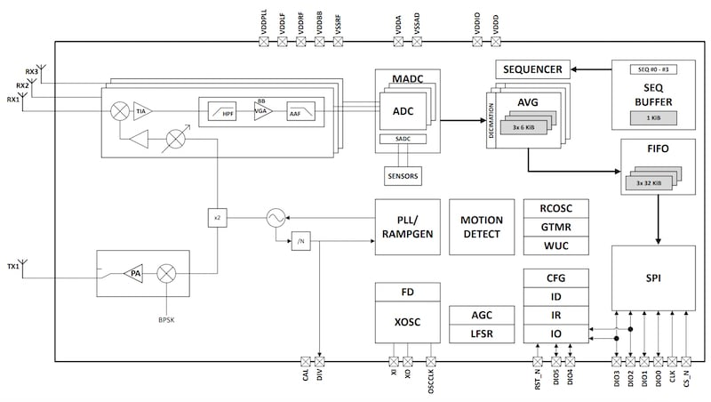
Simplified block diagram of BGT60CUTR13AIP.
Additionally, Infineon integrates the entire 60 GHz radar signal chain into one device. The left side contains the RF frontend, where the transmit and receive paths handle amplification, filtering, and down-conversion. These signals feed into the on-chip ADC and sequencer, which manage data capture and basic averaging before sending results into a FIFO. A built-in PLL generates the FMCW chirps, while motion detection and calibration logic reduce the work required from the host MCU. Finally, all processed data is made accessible through a straightforward SPI interface, simplifying system integration.
Providing Stable Range, Doppler, and Micro-Motion Data
The sensor’s wide modulation bandwidth enables fine range resolution, allowing it to capture small movements—hand gestures, presence shifts, or even micro-motions—more reliably than narrower-band alternatives. Multiple transmit and receive paths support richer spatial awareness, enabling zone-based detection or simple angular estimation without large external antenna arrays.
To simplify system integration, the device incorporates an on-chip state machine that manages chirp sequencing and timing autonomously. Offloading these tasks reduces the burden on the host processor and improves sweep-to-sweep consistency for downstream signal processing. Through a streamlined digital interface, developers can access raw or partially processed radar data depending on their performance and compute requirements.
Together, these architectural choices position the sensor as a compact, high-resolution radar building block for embedded designs. Furthermore, while the sensor does not run neural networks on-chip, its high-resolution motion and presence data serve as a strong frontend for edge-AI pipelines. By providing stable range, Doppler, and micro-motion information, the device enables applications such as gesture recognition, occupancy intelligence, and vital-sign monitoring when paired with lightweight machine-learning models on the host processor.
Burgeoning Applications in mmWave Radar
From a market perspective, this release arrives as mmWave radar continues gaining traction across consumer, industrial, and building-automation sectors. Developers are increasingly looking beyond traditional optical and ultrasonic sensors, favoring radar for its ability to operate in low-light conditions, maintain privacy, and detect subtle movements. Competitors such as Texas Instruments, NXP, and several emerging radar module vendors are also targeting this space, each offering variations in bandwidth, power profile, and integration level.
Infineon’s approach—combining wideband performance with an antenna-in-package design—positions the device well for designers who want higher-resolution sensing without a complex RF design cycle. Looking forward, the broader trend points toward more intelligent radar endpoints that offer people counting, zoning, fall detection, and even basic vital-sign monitoring. As these capabilities move closer to the edge, compact sensors like this one are likely to play a central role in next-generation IoT and industrial platforms.
Learn More From the Webinar
During the All About Circuits Summit Series 2025 virtual event, Infineon hosted an on-demand webinar exploring the company's Xensiv 60 GHz radar technology. The webinar gives a detailed walkthrough of the Xensiv radar portfolio, highlighting the BGT60CUTR13AIP's features and broad embedded applications, while also discussing the future of radar sensing. You can watch the webinar on demand here.
All images used courtesy of Infineon.

